Apple разрабатывает неубиваемый Lightning — он не будет изнашиваться
Большинство согласятся, что оригинальные зарядные кабели для iPhone служат крайне мало. Хотя в комментариях находятся те, кому удается сохранить кабель из коробки в приличном состоянии на протяжении нескольких лет (наверное, они просто им не пользуются), но в основном на Lightning поступает очень много жалоб. Главная проблема этих кабелей — они быстро изнашиваются ближе к коннектору, изоляция повреждается, оголяя провода, и вскоре провод перестает работать. Или вообще рвется. Спустя много лет Apple, похоже, решила заняться этой проблемой.
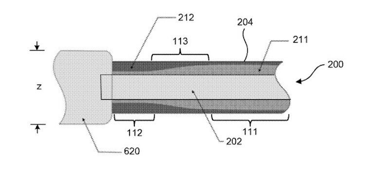
Хорошо известно, что изгиб кабеля рядом с коннектором для подключения может вызвать нежелательную нагрузку на соединения проводов, что может привести к выходу кабеля из строя, — пишет Apple в своей новой заявке на патент «Кабель с переменной жесткостью», который обнаружило издание The Verge. — Поэтому обычно ближе к краю кабеля делают гильзу, которая позволяет снизить натяжение, но сделана из более жесткого материала.
Как сделать кабель Lightning прочнее
Речь идет о небольшом утолщении, которое Apple использует ближе к коннектору Lightning и USB. Компания считает, что в некоторых случаях это утолщение может быть «нежелательным», поэтому она изучает другие способы, как сделать кабель надежнее и прочнее. В патенте отмечается, что утолщение, которое сейчас есть на всех кабелях Lightning, пропадет совсем — вместо этого Apple решила сделать толще сам кабель.
Кроме того, компания предлагает использовать провод с тремя степенями жесткости, чтобы равномерно распределять нагрузку на него. Соответственно, в местах, где вы чаще всего сгибаете кабель, он будет максимально гибким, а там, где это не требуется, Lightning будет жестче для большей надежности. Таким образом, как бы вы ни скрутили провод, он все равно останется целым.
Почему кабель Lightning так быстро изнашивается?
На самом деле есть еще одна причина, почему оригинальный зарядный кабель из коробки с iPhone так мало живет. Дело в том, что Apple делает изоляцию кабеля не из перерабатываемого поливинилхлорида (ПВХ), а из биоразлагаемых термопластичных эластомеров (ТПЭ). Тем самым, по задумке Apple, должны экономиться огромные деньги и ресурсы на переработку этого элемента кабеля. Вот только с выбранным видом материала есть одна проблема. Если в чистой среде его разложение длится несколько лет, то попадание грязи, пыли, жира от рук и прочих веществ, с которыми зарядный кабель сталкивается постоянно, ускоряет реакцию до нескольких месяцев. Кроме того, кабель в процессе эксплуатации постоянно скручивается, в нем появляются микротрещины и заломы. Снова экология!

Конечно, просто подача заявки на патент не гарантирует, что Apple укрепит свои кабели. Тем не менее, это говорит о том, что Apple хотя бы в некоторой степени серьезно относится к этой идее, поэтому в конечном итоге у нас могут появиться более прочные кабели Lightning и MagSafe для зарядки.
На самом деле более прочные кабели Lightning уже давно продаются на Али, причем у них вполне себе неплохие отзывы. И стоят недорого, поэтому многие предпочитают вообще не пользоваться комплектным проводом для зарядки (или всего пару месяцев) и заказывают себе альтернативные кабели. Главное, чтобы такой кабель был сертифицирован Apple, то есть имел на коробке значок MFi — Made For iPhone. Такие есть, например, у Ugreen, причем как Lightning — USB, так и Lightning — USB-C для более новых айфонов.

Интересно, что в самом патенте нет слова «Lightning», Apple говорит обо всех своих зарядных кабелях в общем. Это намекает не только на обновление кабелей USB-C — USB-C для зарядки MacBook, но и также возможное появление USB-C вместо Lightning в iPhone. Apple отказалась от собственного разъема в линейке iPad Pro и MacBook, и в случае с iPhone это кажется логичным шагом.





